BMW patentiral svoje vijake, ki utegnejo otežiti delo mehanikom
BMW patentiral svoje vijake, ki utegnejo otežiti delo mehanikom
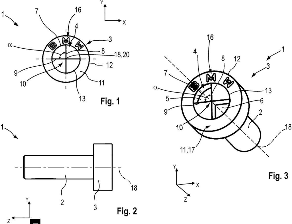
Bavarski avtomobilski gigant je pri svetovni organizaciji za intelektualno lastnino WIPO vložil patentno prijavo za posebne vijake z glavo, oblikovano po vzoru njihovega prepoznavnega logotipa.
Patent opisuje štiri različne izvedbe glave vijaka, ki povzemajo značilno štiridelno zasnovo logotipa, pri čemer sta dva segmenta vdolbena, druga dva pa ravna ali rahlo izbočena. Na prvi pogled gre za zanimivo oblikovalsko rešitev, a se istočasno pojavlja vprašanje o praktičnosti, saj bi nenavadna oblika pomenila tudi uporabo posebnega orodja. To bi lahko povzročilo veliko skrbi predvsem mehanikom iz nepooblaščenih delavnic, ki do tega orodja ne bi mogli dostopati. Vsaj ne po uradni poti. Patentna dokumentacija je bila vložena 7. junija 2024 in uradno objavljena šele pred nekaj dnevi, a za zdaj ostaja nejasno, ali bo bavarski proizvajalec to rešitev dejansko tudi uvedel v serijsko proizvodnjo oziroma bo patent ostal zgolj na ravni koncepta.

