Dvanajstvaljnik ali dva vrstna šestvaljnika?

Dvanajstvaljnik ali dva vrstna šestvaljnika?
Ferrari razvija motor z dvema ročičnima gredema, pravo malo čudežno revolucijo.
V-dvanajstvaljnik in italijanska znamka, ki je izdelovala ene najbolj osupljivih avtomobilov na svetu s propetim konjičkom v znaku, bi lahko tvorila skoraj sinonim. Prav Ferrari je bil z dvanajstvaljnimi motorji verjetno najbolj povezan, čeprav jih je ponujal tudi Lamborghini in jih je bilo mogoče najti pri vozilih znamk Mercedes-Benz, BMW ali Audi. Motor V12 je imela tudi Toyota, le da se ni nikoli uvažal v Evropo in seveda je po njem zaslovel britanski proizvajalec avtomobilov Jaguar.
Dvanajstvaljni motorji, uporabljeni v osebnih avtomobilih, so bili v bistvu izključno V-motorji s kotom med vrstama valjev od 60 do 180 stopinj. Specifično zasnovo je predstavljal motor Audi W12, kjer sta bila združena dva agregata VE6 s skupnim ohišjem ročične gredi. Posebna zasnova ni bila prvotni izum Audija, temveč so se že veliko prej podobno zasnovani motorji uporabljali na nekaterih lokomotivah.
Novi Ferrarijev dvanajstvaljnik pa je popolnoma poseben pogon. Veliko motorjev V12 je v preteklosti nastalo s povezavo dveh vrstnih šestvaljnikov. Konec koncev so ob prihodu motorjev BMW V12 (M70), Mercedes-Benz V12 (M120) in Jaguar (AJ12) vsi trije proizvajalci ob predstavitvi omenjenih dvanajstvaljnikov (1986, 1991, 1970) že leta ponujali svoje bencinske vrstne šestvaljnike.
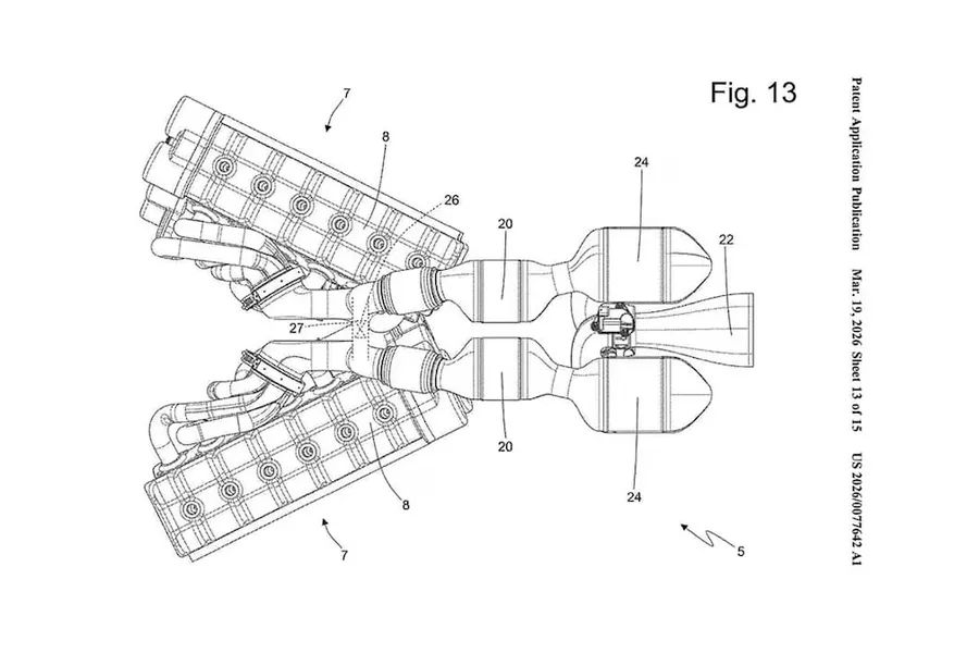
Ferrari pa se je pri na novo razvitem motorju, ki ga je patentiral pri patentnem uradu 19. marca 2026 v ZDA pod številko 2026/0077642A1, odločil za popolnoma novo zasnovo. V bistvu gre za dva vrstna šestvaljnika, vendar tokrat ne s skupnim ohišjem ročične gredi, temveč z ločenima blokoma za vsakih šest valjev, torej za eno vrsto.

Vsaka vrsta valjev ima torej lastno ročično gred. A to še ni vse. Osi, ki potekata skozi ročični gredi, med seboj oklepata kot 45 stopinj. Pogled na motor od zgoraj ima tako obliko črke ipsilon. Ta nenavadna razporeditev olajša vgradnjo motorja v okvir vozila. Zlasti pri superšportnih avtomobilih je zaželeno, da se karoserija proti zadnjemu delu zoži, kar pri konvencionalnem motorju oblikovalcem in tehnikom predstavlja določene omejitve. Navedeni koncept je poleg tega omogoča, da se nenavadno zasnovan motor lahko pomakne bolj naprej. In kako ročični gredi poganjata menjalnik?
V resnici ga ne. Gre za serijski hibrid. Z drugimi besedami za motorno vozilo z električnim prenosom moči. Obe ročični gredi poganjata le generator električnega toka za napajanje elektromotorjev. Po navedbah Ferrarija ima vsako kolo lasten elektromotor z reduktorjem. Del pogona je tudi baterija za shranjevanje odvečne električne energije, na primer pri rekuperaciji.
Pogon torej ne deluje z večstopenjskim menjalnikom. Toda športno naravnan voznik ga seveda želi, zato mu ga Ferrari ponuja v obliki virtualnega menjalnika. Da bi bila tudi zvočna kulisa ustrezna, lahko obe vrsti motorja (vsak od šestvaljnikov) delujeta z različnimi vrtljaji. To vpliva ne le na značilnosti zmogljivosti, temveč je s tem hkrati zagotovljen tudi želeni zvočni učinek.
